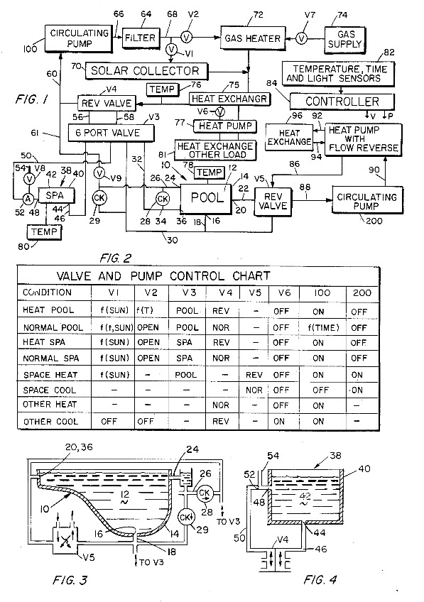
Mark Urban's Flowreversal Patent Drawings

Mark Urban Swimming Pool Flowreversal Patent Figures 1-4

Flowreversal Patent Drawings


© Edward G. Palmer 2013-2023